企业微信客户流失实时消息提醒如何实现?手把手教程
企业微信的客户流失实时提醒功能能够在客户删除企业员工微信时,第一时间向相关员工的企微推送通知,及时的提醒员工。这种实时预警机制打破了传统“事后发现”的被动局面,使企业能够在客户真正流失前捕捉到关键信号,但是企业微信原生功能仅能查看客户流失历史记录,无法实现实时提醒,那么要如何实现这一功能呢?下面小编详细介绍具体的实现方法。
利用第三方平台的企业微信工具,可以快速的实现这一功能,例如微助企微助手的客户流失提醒功能,下面让我们一块来看看如何利用微助平台的企业助手实现这一功能。

第一步:平台注册及企微接入
在微助企微助手注册后,登录系统后台,选择【授权企业微信】,企业微信管理员使用企微扫码,确认授权,完成企微的绑定。
选择【员工管理】-【同步数据】,同步企业微信员工到后台。
选择【客户管理】-【同步数据】,同步存量客户数据到后台。

第二步:开启客户流失提醒
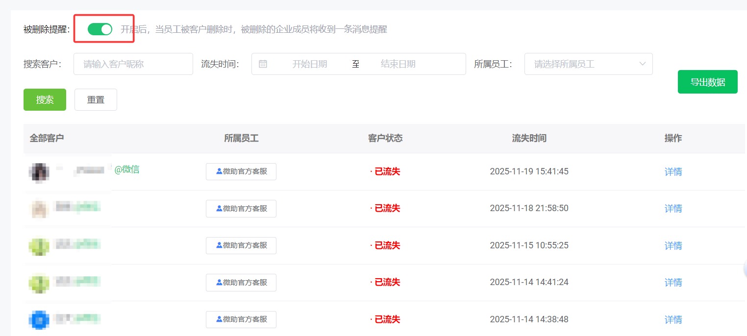
下载【流失管理】,开启被删除提现,开启后,当员工被客户删除时,被删除的企业成员的企业微信上将收到一条消息提醒。

在流失管理里可查看流失的客户列表,可以按照日期、名称等条件查询流失记录。
企业微信的客户流失提醒功能,远不止是一个简单的通知工具,而是连接客户行为、员工行动与企业管理决策的重要枢纽。它通过技术手段将“看不见的流失”变为“可感知的风险”,帮助企业从被动应对转向主动经营,从经验驱动迈向数据驱动。在客户注意力稀缺、竞争日益激烈的市场环境中,善用此类数字化工具,将成为企业构筑长期客户忠诚、实现可持续增长的关键竞争力。
关于我们
订制开发